KFZ technik erprobte

Wartburg 1000


Der arktische Winter 1962/63 schien uns anfäng-
lich nicht der glücklichste Zeitraum für die Erpro-
bung eines Wagens. Eine derart massive Schnee-,
Eis- und Kälteblockade ist zu selten, als daß sie
zu den Maßstäben gehörte, nach denen mittel-
europäische PKW - noch dazu, wenn sie nicht
über großvolumige Motoren verfügen - ausgelegt
werden. Wir befürchteten also, daß sie das Bild
eines Wagens wesentlich beeinträchtige.

Auf der anderen Seite zeichnete sich gerade zu
dieser Zeit das Profil des Eisenacher PKW auf
dem Hintergrund der in aller Welt so hervor-
tretenden Klasse um 1-l-Hubvolumen ab, die er
vor beinahe acht Jahren mit schuf. Diese neuen
Fahrzeuge mit ihrer beachtlichen Technik wurden
mit meist erheblichen Investitionen in die Produk-
tion genommen, was vermuten läßt, daß diese
Kategorie dem internationalen PKW-Bau manche
Jahre ihren Stempel aufdrücken wird.
Seht welche Kraft
0
Bild 1  "Seht, welche Kraft!", hieß die Ausstellung in Berlin zum VI. Parteitag der
Sozialistischen Einheitspartei Deutschlands, vor der hier unser Erprobungswagen
steht und seine neuen Heckleuchten präsentiert.

Foto: Romü

Und doch sind wir froh, daß wir gerade bei den extrem winterlichen
Straßenverhältnissen und an einem, wie es scheint, Kulminationspunkt
des PKW-Baues den Wartburg erprobten. Auf den schnee- und eis-
bedeckten Straßen zeigten sich die Vorteile seiner Straßenlage, seines
Frontantriebs und bei den Kältegraden auch ganz besonders seines
Zweitaktmotors, womit er sich vielen vergleichbaren Fahrzeugen
gegenüber als überlegen erwies. Und gerade in einer Zeit, in der über
die Vor- und Nachteile der Konfektions-Tausender diskutiert wird,
sind seine Unterschiede zu jenen besonders deutlich. Die 45 PS, die
sein im vergangenen Jahr auf 1000 cm³ vergrößerter Motor bietet, und
die 9,5 kpm Drehmoment stellen ihn in der 1000-cm³-Klasse mit an
die Spitze und binden ihn nicht so streng an kleinwagenähnlichen
Leichtbau. Einfluß auf seine entstandene Konzeption hat die Tat-
sache, daß er der größte in unserer Republik gebaute PKW ist. Er
unterscheidet sich demzufolge deutlicher von Klein- als von Mittel-
wagen.

Der Dreizylinder-Zweitaktmotor, dessen Spitzenwerte von 45 PS
Leistung und 9,5 kpm Drehmoment bereits erwähnt wurden (tech-
nische Daten s. Tafel), verleiht dem Wagen sein oft gelobtes sport-
liches Temperament, trotzdem eine relativ hohe Masse von rd. 920 kg
zu bewegen ist. Nicht nur die Lage des maximalen Drehmomentes,
sondern auch dessen günstiger Verlauf über den gesamten Drehzahl-
bereich wirken sich im Fahrbetrieb aus. So läßt sich der Wagen mit
dem 4. Gang ruckfrei aus 40 km/h, mit dem 3. Gang aus 20 km/h und
mit dem 2. Gang aus dem Leerlauf beschleunigen. Seine ganzen
sportlichen Eigenschaften offenbart er beim Hochdrehen im 2. Gang
bis 60 km/h und im 3. Gang bis 90 km/h. Mit dem 1000-cm³-Motor
wurde die Thermosyphonwasserkühlung durch eine Pumpenumlauf-
kühlung abgelöst und auch das Heizungssystem verändert. Es trat
eine wesentliche Senkung der Innengeräusche besonders beim Be-
nutzen der Heizung ein. Ein leichtes Dröhnen bei rd. 60 km/h im
4. Gang läßt jedoch erwarten, daß an der Geräuschminderung weiter-
hin gearbeitet wird. Durch den starken Frost, der während unserer
Erprobung herrschte, zeigte sich eine im normalen Fahrbetrieb ver-
deckte Schwäche der neuen Anlage. Daß der Motor seine Betriebs-
temperatur nur spät erreichte, führten wir zuerst auf mangelhafte
Funktion des im Kühlwasserumlauf befindlichen Thermostaten zu-
rück. Von der Vertragswerkstatt mußten wir uns aber überzeugen
lassen, daß dieses Aggregat in Ordnung war. Da der Motor jedoch
auch nach dem Abdecken des Lufteintritts am Kühlergrill nicht
schnell genug warm und auch die Heizung bei den strengen Frösten
nur mäßig wirksam wurde, kann man annehmen, daß der Thermostat
doch noch zu früh öffnete, und daß man sich bei der Dimensionierung
der Motorkühlung doch zu sehr auf der sicheren Seite bewegte.
(Der Sommerbetrieb wird diese Behauptung jedoch erst beweisen
müssen.)

Mit dem verwendeten Kraftstoff VK extra (OZ 78), Kraftstofföl-
mischung 33 1/3:1, traten nur beim extremen Beschleunigen leichte
Klingelgeräusche auf, jedoch nur über einen engen Drehzahl-
bereich.

Die Vorteile des Zweitaktmotors im Wartburg, wie Wartungsfreiheit,
Robustheit, Überlastbarkeit z. B. durch Überdrehen (er lief z. B. an
Gefällen bis zu 145 km/h) und Unempfindlichkeit gegen Störungen
gelten auch für dieses Fahrzeug. Im Winterbetrieb ist die außer-
ordentliche Startfreudigkeit bedeutsam. Bei Außentemperaturen bis
- 12 ºC waren nie mehr als 10 s zum Start notwendig. Unter - 20 ºC
lief der Motor spätestens nach rd. 20 s mit eigner Kraft, und zwar
auch dann, wenn der Wagen 48 h und mehr dem Winter ausgesetzt
im Freien stand.

Die Synchronisation des im 2. bis 4. Gang synchronisierten Viergang-
getriebes erwies sich auch an unserem Fahrzeug als ausgezeichnet.
Die Gänge lassen sich sogar ohne Kupplung geräuschfrei einlegen.
Für den Winterbetrieb waren wir jedoch gezwungen, Teilstrecken
mit gesperrtem Freilauf zurückzulegen und kamen damit bis an
die Grenzen der Synchronisation. So war ein Zurückschalten in
den 2. Gang oberhalb 40 km/h nur mit großer Vorsicht geräusch-
los möglich.

Die fehlende Synchronisation des 1. Ganges macht sich im normalen
Fahrbetrieb kaum bemerkbar, da ein ruckfreies Beschleunigen im
2. Gang aus dem Leerlauf durch den günstigen Drehmomentenver-
lauf des Motors möglich ist. Erst bei betont sportlichem Fahren
könnte man mitunter die noch größere freie Zugkraft des Motors im
1. Gang bei Vorhandensein einer Synchronisation auch dieser Gang-
stufe nutzen und sollte sie auch für die Weiterentwicklung vorsehen.
Rückwärtsgang und 1. Gang lassen sich im Stand nicht immer ein-
wandfrei einlegen. Mit nochmaligem Auskuppeln kann man das
überbrücken.

Geschaltet wird das Getriebe durch die griffgünstige Lenkrad-
schaltung. Das Übertragungsgestänge verursachte in dem uns zur
Verfügung stehenden Wagen Klappergeräusche, die auf Einbau-
mängel bei der Montage zurückzuführen sind. Das Getriebe läuft leise

Bild 2

Die Vorderradaufhän-
gung am Wartburg.
Mit dem Wegfall der
Zentralschmierung
gibt es hier drei
Schmierstellen:

1 Schmiernippel für
Federgabellagerung

2 Schmiernippel für
Antriebgelenk

3 Schmiernippel für
Gelenkzapfen
Schmiernippel der Vorderachse
 
Kraftfahrzeugtechnik 3/1963
 
 
Zurück zur Auswahl oder zur Homepage  
 
und die Synchronisation ist kaum zu hören, lediglich im Rückwärts-
gang ist das typische Geräusch geradverzahnter Stirnräder zu ver-
nehmen.

Die Aufhängung der Räder des Wartburg - vorn einzeln und hinten
an der Profilstarrachse - ist ebenso bekannt wie die Federung
durch zwei Querblattfedern. Zusammen mit dem niedrigen Schwer-
punkt, der durch die flache Karosserieform auf dem Kastenprofil-
rahmen begünstigt wird, ergibt sich eine ausgezeichnete Straßenlage.
Das Fahrzeug ist außerordentlich richtungs- und kurvenstabil sowie
relativ seitenwindunempfindlich. Beim Wartburg 1000 fiel auch die
Zentralschmierung weg. Bild 2 zeigt die dadurch entstandenen zu-
sätzlichen Schmierstellen an den Vorderrädern.

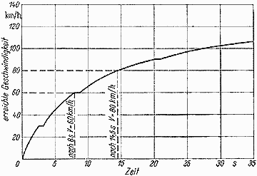
Beschleunigungskurve

Bild 3  Beschleunigungsschaubild

Als hart sind die Federn zu bezeichnen. Man bedauert, daß die durch
die gewählte Rahmenbauweise verhältnismäßig hohe Fahrzeugmasse
nicht für bessere Federungseigenschaften ausgenutzt wurde. Die
technische Entwicklung hat auch vor den Blattfedern nicht halt
gemacht. Gerade in letzter Zeit wurden Konstruktionen bekannt,
mit denen die Blattfeder wieder sehr interessant geworden ist. Wie
uns versichert wurde, arbeitet man in Eisenach auch an diesem
Problem. In jedem Fall ist aber die geringe Störanfälligkeit der
robusten Federn auf unseren teilweise schlechten Straßen hervor-
zuheben. Die Stoßdämpfer waren während der extrem kalten Winter-
temperaturen in der Wirkung beeinträchtigt.

Sehr direkt ist die Zahnstangenlenkung, die unter Last etwas
schwerer zu bewegen ist. Der knappen Untersetzung wird durch
das große, griffsichere Lenkrad Rechnung getragen.

Der Wendekreisdurchmesser ist mit beinahe 14 m nach links (rechts
rd. 12 m) zu groß. Den Gelenken der Wartburg-Antriebswellen
wünscht man größere Schwenkwinkel. Mit den Werten der hydrau-
lischen Trommelbremse waren wir sehr zufrieden. Mit ihren kurzen
Bremswegen bewegt man sich mehr auf der sicheren Seite des
Straßenverkehrs als andere Fahrzeuge, z. B. Kleinwagen. Lediglich
auf das etwas harte Ansprechen muß man sich einstellen.

Die Karosserie hat, außer dem Anbau den neuen Heckleuchten in
diesem Jahre (wir stellten die Neuerungen am Wartburg 1963 bereits
im Heft 2 vor), Ende des Jahres 1961 kleine Modifikationen durch
den Anbau von durchgehenden Stoßstangen erhalten. Die flache,
gerundete Form der Karosserie wirkt ausgewogen, wenn sie auch
die Vorteile, wie sie von anderen Wagen durch Betonen der horizon-
talen Linien genutzt werden, außer acht läßt. Damit wäre z. B. eine
Verbesserung der lediglich ausreichenden Sichtverhältnisse möglich.
Ein großer Vorteil der Wartburg-Karosserie sind ihre vier Türen,
wodurch man auch zu den hinteren Sitzen ohne Kletterei gelangt.
Die Einstiegverhältnisse werden durch die geringe Dachhöhe für
den "Mann mit Hut" etwas beeinträchtigt.

Am Lenkrad des Wartburg 1000 fühlt man sich sofort fahrerisch
wohl. Unser Fahrzeug war mit den Liegesitzen der de-Luxe-Aus-
führung mit Schaumgummiverarbeitung ausgerüstet, die eine ein-
wandfreie Sitzhaltung und auch Auflage für das Gasbein geben.
Sie lassen sich in Längsrichtung des Fahrzeugs verstellen. Außerdem
ist die Neigung der Rückenlehne einstellbar (durch Federdruck auch
während der Fahrt). Beide Mechanismen hatten jedoch schon früh-
zeitig Spiel, was im Fahrbetrieb durch geringe Eigenbewegungen
zu spüren war.

Das asymmetrische Abblendlicht bringt eine ausgezeichnete Aus-
leuchtung der Fahrbahn. Die neuen Heckleuchten verfügen ebenfalls
über respektable Lichtwerte. Die Bremsleuchten, die auch als Rück-
fahrtscheinwerfer benutzt werden, leuchten die Fahrbahn hinter dem
Fahrzeug gut aus.

Die neue mit Fingerdruck betätigte Scheibenwaschanlage funktio-
niert ebenfalls einwandfrei und kann als ein wesentlicher Beitrag zur
Erhöhung der Verkehrssicherheit angesehen werden. Sie ist gegen
einen Aufpreis von 35,- DM serienmäßig eingebaut. Sehr vorteilhaft
für beschlagfreie Scheiben ist das Standgebläse, das zusammen mit
der Heizungs- und Belüftungsanlage eine zugfreie Belüftung und
Heizung des Wagens ermöglicht, allerdings recht laut läuft. Von der
Kraftstoffanzeige erwarteten wir jedoch eine größere Genauigkeit.
Einen Tankinhalt unter 10 l zeigte sie im erprobten Wagen
nicht an.

Es ist sicher nicht nur das Sportlenkrad, das dem Fahrer eines
Wartburg immer wieder den Eindruck verleiht, daß er einen Sport-
wagen fährt. Die 45 PS der drei Zylinder unter der Motorhaube
dürften wesentlichen Einfluß darauf haben. Man kann es einfach
nicht lassen, die sportlichen Vorzüge des Wagens auszukosten. Auf
Autobahn und Landstraße sind die Überholvorgänge dank der
Sprinterqualitäten des Wartburg kurz und sicher, wenn es auch
einiges Kleingeld kostet, den Zweitakter immer drehen zu lassen.
Gerade die vergangenen Wintertage ließen uns spüren, wie not-
wendig zu diesem Temperament auch ein absolut sicheres Fahrwerk
ist; der Wartburg hat es. Die hohen Reisedurchschnitte, die wir
z. B. auf eisglatten Straßen erzielten, waren nur mit seiner aus-
gezeichneten Straßenlage möglich. Die Reifen, die mit Drücken von
1,4 (vorn) und 1,5 at (hinten) gefahren werden, sind daran mit
beteiligt. Wir sahen uns trotz der ungünstigen Wetterlage nicht ver-
anlaßt, Schneeketten oder M- u. S-Reifen zu benutzen. Die direkte
Lenkung entspricht dieser Tendenz vorzüglich und läßt ein schnelles,

Verbrauchskurve

Bild 4  Verbrauchskurve

gefühlvolles Reagieren auf alle Fahrzustände zu. Bei Kurvenfahrt
erweisen sich wiederum die Vorteile des Frontantriebs. Enge Kur-
ven, z. B. in die der Wagen mit zurückgenommenem Gas zu schnell
hineinrollt und deshalb wegzuschieben beginnt, sind mit leichtem
Gasgeben sicher zu nehmen. In fast allen Kurven, ob in engen oder
schnellbefahrenen weiten Kurven, stellten wir eine leichte Über-
steuerungstendenz fest, die sich auf nasser oder glatter Fahrbahn
verstärkt. Sie ist in jedem Fall durch gefühlvolles Gegenlenken
korrigierbar. In extrem schnellbefahrenen engen Kurven, z. B. an
der Queckenbergkurve des Sachsenring-Rennkurses, registrierten
wir jedoch auch eine deutliche Neigung zum Untersteuern.

Wenn hier die Vorzüge des Wartburg für sportliche Fahrweise
besonders hervorgehoben wurden, so nicht etwa, weil er nur so
und nicht anders gefahren werden will. Man ist bei einem Zweitaktmotor
mit unteren Drehzahlen meist recht vorsichtig. Da aber der Wart-
burgmotor im unteren Drehzahlbereich ein relativ hohes Dreh-
moment hat und auch bei geringer Teillast völlig rund läuft, läßt
sich der Wagen auch ruhig und trotzdem nicht viel weniger zügig
bewegen. Die 50 km/h Stadtgeschwindigkeit im 4. Gang sind z. B.
wegen der dann sehr geringen Geräuschentwicklung einfach kom-
fortabel. Auf welliger, balliger und dazu kurvenreicher Straße liegt
der Wartburg zwar nicht so ruhig, wie man es bei seiner hohen Masse
wünschen möchte, die harte aber exakte Radführung macht ihn
jedoch auch auf solcher Fahrbahn sicher.

Die Messungen

Die Beschleunigungszeiten .des Wartburg liegen, wie Bild 3 zeigt,
sehr günstig und reichen beinahe in die nächsthöhere Klasse hinein.
Gegenüber dem als Sportwagen konzipierten 1,2-l-Skoda-Felicia
 
Kraftfahrzeugtechnik 3/1963
 
 
Zurück zur Auswahl oder zur Homepage
 
Technische Daten

Motor
Zylinderzahl
Hub/Bohrung
max. Leistung
max. Drehmoment
Vergaser
Schmierung

Kraft- und Schmierstoffmengen
Kraftstofftank
Ölmenge Getriebe

Kraftübertragung
Kupplung
Getriebe
Übersetzungen
       (1;2;3;4;Rückw.)
Achsübersetzung

Karosserie und Fahrwerk
Rahmen
Lenkung
Federung

Abmessungen und Lasten
Radstand
Spurweite vorn/hinten
Bodenfreiheit (belastet)
Länge, Breite, Höhe
Masse des fahrfertigen Fahrzeugs
zul. Belastung
Otto-Zweitakt
3 (in Reihe)
78/78,5
45 PS bei 4000 bis 4250 U/min
9,5 kpm bei 2200 U/min
BVF H 362-20
Kraftstoff-Öl-Gemisch 33:1

 
rd. 40 l
2,25 l

 
Einscheiben-Trockenkupplung
Viergang, 2. bis 4. Gang, synchronisiert
 
3,273; 2,133; 1,368; 0,956; 4,44
4,857

 
Kastenprofilrahmen
Zahnstangenlenkung
querliegende Blattfedern

 
2450 mm
1190/1260 mm
190 mm
4300/1570/1450 mm
920 kg
380 kp
 
lagen sie z. B. besser. Während wir mit dem Skoda-Felicia nach
17,2 s eine Geschwindigkeit von 80 km/h erreichten, schaffte es der
"Wartburg 1000" schon nach 14,5 s. Die 24%ige Steigung unserer
Rundstrecke meisterte er im 2. Gang. An 6%igen Autobahnsteigun-
gen fiel die Geschwindigkeit nicht unter 100 km/h. Die Höchst-
geschwindigkeit. konnten wir nicht auf unserer dafür abgesteckten
Strecke ermitteln, da sie während des Erprobungszeitraumes nicht
eisfrei war. Auf einem im südlichen Teil unserer Republik gelegenen
einwandfrei befahrbaren Autobahn-Teilstück ermittelten wir für die
Hinfahrt 14,0 s (128,7 km/h) und für die Rückfahrt 15,5 (116,3 km/h);
damit ergeben sich im Mittel 122,2 km/h Höchstgeschwindigkeit.
Die Außentemperatur betrug dabei rd. - 8 ºC. Interessant dürften
in diesem Zusammenhang auch die Werte sein, die wir auf einer
vereisten Piste mit rd. 5 cm Neuschnee ermittelten. Die Höchst-
geschwindigkeit betrug hier bei rd. - 15 ºC nicht weniger als
116 km/h.

Das in Bild 4 wiedergegebene Ergebnis unserer Verbrauchsmessungen
wurde bei Außentemperaturen um - 10 ºC, aber auf eis- und schnee-
freier Strecke ermittelt. Die Kältegrade dürften die relativ hoch-
liegenden Werte beeinflußt haben. Interessant hierbei ist noch der
Durchschnittsverbrauch, den wir bei einer Fahrstrecke von rd.
1000 km bei gesperrtem Freilauf mit rd. 12 l/100 km ermittelten.
Mit nichtgesperrtem Freilauf lag der Durchschnittsverbrauch bei rd.
10,3 l/100 l/km. Obwohl besonders die Verbrauchswerte von den
für unseren Kontinent äußerst seltenen klimatischen Bedingungen
beeinflußt wurden und damit über dem normalen Niveau liegen,
glauben wir, sie der Vollständigkeit halber nennen zu müssen. Viel-
leicht haben wir Gelegenheit, ihnen "Sommerwerte" gegenüberzu-
stellen.

Schlußbetrachtung

Kein Fahrzeug hat bisher so schwierigen Witterungsbedingungen
während unserer Erprobungen standhalten müssen wie der "Wart-
burg 1000". Er hat auch unter diesen Umständen die Probe be-
standen. Seine Werte bringen ihn an die Spitze der 1000er Klasse
und der Mittelklasse schon sehr nahe, von der er auch mit seiner
Gesamtmasse keinen allzu großen Abstand hat. Die Abstriche, die
wir bei Einzelheiten vornahmen, und die wir für verbesserungs-
würdig halten, können nicht darüber hinwegtäuschen, daß der
"Wartburg 1000" sich als eine ausgereifte Konstruktion vorstellt,
die eine ausgezeichnete Basis für die Weiterentwicklung unseres
PKW-Baues darstellt. KfA 6052 knut

Sicherheitsgurtbefestigung am Wartburg

Wie bereits berichtet, werden ab Fahrgestell-Nr. 63 6009 alle
PKW "Wartburg" serienmäßig mit Befestigungspunkten für
Sicherheitsgurte ausgerüstet. Es handelt sich um eine Drei-
punktbefestigung für die beiden Vordersitze. Sie gestattet die
Montage von Schulterschräg- bzw. Schulterschräg-Hüftgurten.
Diese Gurte werden z. Z. noch nicht mitgeliefert. Es erfolgte
jedoch eine Abstimmung mit ausländischen (Schweden-)
Gurten.

Die Befestigung der Gurte an den Türsäulen rechts und links
befinden sich unmittelbar unter dem Kleiderhaken, wie rechts
im Bild zu erkennen ist. Bei Anbringung des Halters, der zum
Sicherheitsgurt einmal mitgeliefert wird, müssen die beiden
durch die Innenverkleidung fühlbaren Bohrungen durch-
gestoßen werden, da sich in der Türsäule eine Verstärkungs-
platte befindet, die unmittelbar unter dem Kleiderhaken in
einem Abstand von 80 mm M-8-Gewindebohrungen aufweist,
woran der Halter befestigt wird (Schnitt C - C). Vor dem Ein-
drehen der Schrauben in die Gewindeplatte sind letztere nach-
zuschneiden, da sich im Gewinde Lack bzw. Antidröhnmasse
festgesetzt haben kann. Die
Befestigungspunkte in der
Bodengruppe befinden sich
rechts und links hinter den
beiden Vordersitzen unmittel-
bar hinter der Mittelsäule (s.
unten Schnitt B - B).Die Boh-
rungen für die Mittelbefesti-
gung (Schnitt A - A) müssen
durch die Fußmulden gebohrt
werden. Die anzubringenden
Bohrungen sind durch zwei
Warzen, Abstand 31 mm, auf
Wagenmitte gekennzeichnet.

KfK 6435    J.M.Nu.

 
Schnitt C-C

Schnitt C-C

Schnitt A-A und B-B
 
Kraftfahrzeugtechnik 3/1963
 
 
Zurück zur Auswahl oder zur Homepage